Циклони ОТІ
Циклони ОТІ для зернового пилу
|
|
Найменування
|
Продуктивність,
м3/ч
|
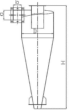
Розміри, мм
|
Маса,
кг
|
Ціна, грн. з
ПДВ
|
|
D H axb
|
|
300
|
500
|
300
|
930
|
135х68
|
15
|
983
|
|
400
|
850
|
400
|
1240
|
180х90
|
25
|
1305
|
|
500
|
1300
|
500
|
1550
|
225х113
|
40
|
1688
|
|
600
|
1900
|
600
|
1860
|
270х135
|
55
|
2071
|
|
700
|
2600
|
700
|
2170
|
315х158
|
75
|
2415
|
|
800
|
3400
|
800
|
2480
|
360х180
|
100
|
3220
|
|
900
|
4200
|
900
|
2790
|
405х203
|
125
|
4025
|
|
1000
|
5200
|
1000
|
3100
|
450х225
|
155
|
4991
|
|
Ціни вказано без вартості бункера, постаменту і пилового затвора (вартість розраховується окремо).
|

Циклони ОТІ - загальні відомості
Циклони ОТІ розроблені і сконструйовані співробітниками Одеського технологічного інституту. Ці промислові агрегати використовуються в системах пневмотранспорту для механічного відділення сумішей зернових відходів, в тому числі і зернового пилу. Широко і ефективно застосовуються на різних
харчових і зернопереробних підприємствах. Для продуктивної і високоякісної роботи без небажаних наслідків не рекомендується використовувати дані пиловловлювачі для усунення волокнистих і липких пилів.
Циклони типу ОТІ характеризуються досить високою ефективністю очищення повітряних мас від зернового пилу та інших видів зернових відходів. Залежно від розміру і характеру забруднюючих частинок ефективність очищення становить 97-98%. Крім того, одним з головних переваг апаратів марки ОТІ є стійкість до коливань швидкості повітряних потоків на вході пристроїв. Оптимальним значенням швидкості є величина від 10 до 14 м/с. При цьому показник стійкості пиловловлювача до коливань у витраті повітряного потоку дорівнює ±35%. Цей фактор дуже важливий для систем, які працюють з перемінним режимом. Дані значення сприяють високоефективній роботі промислового пиловловлювального обладнання типу ОТІ.
Дані агрегати відрізняються досить простою і надійною конструкцією, принцип їх роботи - механічний. Виконуються в діаметрі від 300 до 1000 мм і мають продуктивність від 500 до 5200 м?/год відповідно. Циклони ОТІ, будучи частиною пневмотранспортних систем, встановлюються групами від двох до восьми апаратів для істотного підвищення коефіцієнта пиловловлення. Саме групове використання очисників повітря даної моделі гарантує чудові результати очищення повітряних мас в промисловості.
Наша компанія надає можливість не тільки придбання циклона марки ОТІ найбільш оптимальної для Вашого підприємства продуктивності, Ви також зможете замовити додатково пристрій вивантаження пилових мас, постамент, повітропровід і бункер.
Бункер
Є дуже важливим компонентом для високопродуктивної роботи циклона. Призначений для накопичення та тимчасового зберігання пилу. Термін перебування пилу в бункері залежить від моделі циклона, а також від габаритів самого бункера, які розраховуються перед виконанням замовлення залежно від побажань клієнта - з якою періодичністю планується вивантаження пилу (зміна, дві зміни, п'ять, інше). Дуже важливо забезпечити агрегату своєчасне і якісне технічне обслуговування, яке включає планові техогляди і регулярне очищення бункера. Необхідно постійно стежити за тим, щоб рівень пилу не перевищував рівня спеціальної площини, що знаходиться на відстані 0, 5 діаметра від кришки бункера циклона. В іншому випадку може статися закупорка пиловими відходами, зниження коефіцієнта продуктивності роботи пиловловлювача, скорочення загального експлуатаційного терміну і навіть вихід пристрою і ладу. Щоб цього не сталося, досить дотримуватися перерахованих вище правил. Таким чином, Ви забезпечите своє промислове підприємство високоякісною сучасною апаратурою на тривалий термін.
Додаткова інформація
Наша компанія гарантує високу якість обслуговування і своєчасну доставку кращого аспіраційного та вентиляційного обладнання європейського рівня. Ми готові відповісти на будь-які Ваші запитання та надати професійну консультацію по телефону. Наші кваліфіковані співробітники допоможуть зробити всі необхідні розрахунки і сформувати замовлення, що найбільш оптимально підійде для Вашого підприємства.
Купити циклони ОТІ Ви можете в нашій компанії
Купити оптимальне обладнання за найвигіднішими цінами можна на сайті нашої компанії. Наші фахівці максимально швидко оброблять Вашу заявку і нададуть всю необхідну інформацію, а також нададуть допомогу при виборі необхідного обладнання, враховуючи всі побажання замовника і специфіку приміщення.
|