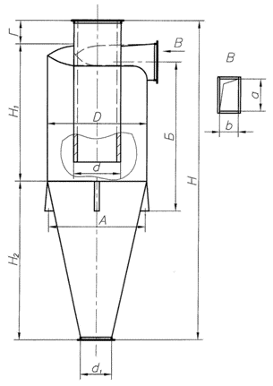
Циклони ЛТА
Циклоны ЛТА для транспортування стружки і тирси
|
|
Найменування
|
Продуктивність,
м3/ч
|
Розміри в мм
|
Маса,
кг
|
Ціна, грн. з
ПДВ
|
|
D H
|
|
Циклон ЛТА-6
|
4100-5500
|
1050
|
2800
|
428
|
13289
|
|
Циклон ЛТА-7
|
5500-7500
|
1200
|
3240
|
558
|
17326
|
|
Циклон ЛТА-8
|
7500-9500
|
1350
|
3680
|
657
|
20400
|
|
Циклон ЛТА-9
|
9500-12000
|
1500
|
4120
|
798
|
24778
|
|
Циклон ЛТА-10
|
12000-14500
|
1700
|
4630
|
979
|
30398
|
|
Ціни на циклони ЛТА дано без вартості бункера, постаменту і пилового затвора (вартість розраховується окремо).
|

Циклони ЛТА - загальні відомості
Циклони типу ЛТА спроектовані, випущені і випробувані в Санкт-Петербурзькій лісотехнічній академії. Ці промислові агрегати застосовуються з метою очищення повітряних мас від частинок великих розмірів, таких як тріски й стружка, крім того - від вологих частинок дрібніших розмірів, наприклад, тирси від пилорам і верстатів. Дані очищувачі також дуже актуальні під час технологічних процесів для відділення особливо великих трісок і використовуються в якості циклонів-розвантажувачів.
Ефективність очищення повітря за допомогою циклонів ЛТА становить від 88 до 90%. У процесі транспортування тирси або сухої стружки, при якому утворюється дуже багато дрібнодисперсного пилу, або за наявності шліфувального пилу в транспортованому матеріалі, цей агрегат не здатен забезпечити достатнього очищення повітря. У зв'язку з цим і потрібна друга, більш ефективна, ступінь очищення.
Якщо циклон встановлюється поза приміщенням на нагнітання, тобто, після промислового вентилятора, обов'язково потрібен зонт, що запобігатиме небажаному потраплянню опадів. Якщо ж пиловловлювач встановлюється до вентилятора, необхідно монтувати разом з циклоном улітку-розвихрювач з метою зменшення навантаження на вентилятор і загального зниження гідравлічного опору системи.
Бункер
На габаритні розміри бункера до циклону ЛТА головним чином впливають побажання замовника: все залежить від бажаних періодів його очищення. Наші фахівці допоможуть розрахувати інтенсивність періодичного вивантаження накопичуваних пилових мас з бункера. Оскільки далеко не кожен клієнт може використовувати додаткову техніку для вивантаження пилу (наприклад, автокари і т. д.), виготовлення накопичувального бункера циклона передбачає різні розміри. Ними визначаються максимально допустимі обсяги відходів у бункері, а також і періодичність його очищення: від доби до п'яти діб, або інші варіанти. Дуже важливо стежити за регулярністю очищення накопичувального бункера пиловловлювача, не допускаючи, щоб рівень пилу перевищив допустиму норму. У зворотному випадку може з'явитися велика ймовірність переповнення бункера, зниження ефективності роботи системи, скорочення експлуатаційного терміну і навіть виходу апарата з ладу. Забезпечення своєчасного належного технічного обслуговування - це гарантована запорука довготривалої і високоефективної роботи циклона.
Додаткова інформація
Наша аспіраційна і вентиляційна продукція користується величезним попитом на ринку промислового обладнання і України, і далеко за її межами. Ми випускаємо і займаємося поставками високоякісної техніки протягом багатьох років. Для нашої компанії дуже важливо, щоб абсолютно всі клієнти залишалися задоволеними придбаним обладнанням, яке оптимально підходить для їхніх цілей, а також якістю обслуговування. Перед початком виконання будь-якого замовлення, кваліфіковані фахівці здійснюють всі розрахунки, консультують і можуть надати будь-які інші необхідні послуги. Звертайтеся за телефоном прямо зараз, і ви не будете розчаровані!
Купити циклони ЛТА Ви можете в нашій компанії
Купити оптимальне обладнання за найвигіднішими цінами можна на сайті нашої компанії. Наші фахівці максимально швидко оброблять Вашу заявку і нададуть всю необхідну інформацію, а також нададуть допомогу при виборі необхідного обладнання, враховуючи всі побажання замовника і специфіку приміщення.
|