Новини, огляди та акції
Новини, огляди та акції
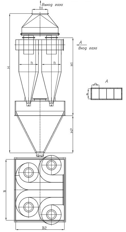
Циклони СЦН-50 – група з чотирьох циклонів на спільному бункері |
||||||||||
|
|
||||||||||
|
Модель |
Продуктивність, м3/год |
Габаритні розміри, мм |
Об'єм бункера, м3 |
Маса, кг |
Цена, грн |
|||||
|
D |
H/H1 |
H2 |
B |
B2 |
D/d |
|||||
|
СЦН-50-400х4 |
4520-6328 |
400 |
3170/1830 |
860 |
1100 |
1100 |
400/200 |
1,03 |
501 |
|
|
СЦН-50-500х4 |
7040-9892 |
500 |
4100/2155 |
1400 |
1600 |
1600 |
550/200 |
2,64 |
885 |
|
|
СЦН-50-600х4 |
10172-14240 |
600 |
4600/2480 |
1400 |
1600 |
1600 |
600/200 |
2,64 |
1061 |
|
|
СЦН-50-700х4 |
13848-19384 |
700 |
5550/2810 |
2000 |
2100 |
2100 |
700/200 |
5,45 |
1606 |
|
|
СЦН-50-800х4 |
18088-25320 |
800 |
6050/3130 |
2000 |
2100 |
2100 |
800/200 |
5,45 |
1842 |
|
|
СЦН-50-900х4 |
22892-32048 |
900 |
6375/3455 |
2000 |
2400 |
2400 |
900/200 |
7,07 |
2201 |
|
|
СЦН-50-1000х4 |
28260-39564 |
1000 |
7400/3780 |
2500 |
2600 |
2600 |
1000/200 |
9,48 |
2795 |
|
|
СЦН-50-1200х4 |
40696-56972 |
1200 |
8050/4430 |
2500 |
3100 |
3100 |
1000/200 |
13,36 |
3692 |
|
Циклон СЦН-50 - група з 4 циклонів на загальному бункері - особливості та переваги застосуванняЦиклони СЦН-50 в групі з чотирьох одиночних циліндрів на загальному бункері являють собою конструкцію циклону, яка відрізняється такими параметрами:
Завдяки таким особливостям циклони СЦН-50 в групі з 4-х циліндрів є відмінним рішенням для проведення очищення як просторів великої площі , так і просторів з високим рівнем запиленості, для яких потрібне видалення пилових частинок ретельніше (з великим показником ефективності). Природно, оскільки в конструкції задіяно 4 циліндра циклонів СЦН-50, габарити даних агрегатів будуть збільшені.< / p> Напрямки і особливості використанняГрупові циклони СЦН-50 з чотирьох циліндрів спеціально сконструйовані для очищення простору від твердих частинок і абразивів. Завдяки стінок кожного корпусу товщиною 3 мм (або більше, за замовленням користувача), дані агрегати можуть працювати з абразивами без фізичного зносу. Застосовуючи групу циклонів СЦН-50 з чотирьох одиночних циліндрів, можна видаляти більшість поширених видів пилу, а також твердих частинок:
Часто групу циклонів СЦН-50 з чотирьох циліндрів застосовують і в харчовому виробництві. Актуально також їх застосування в системах очищення повітря, що надходить через систему вентиляції або аспірації. Також циклони СЦН-50 в груповому виконанні можуть очищати суміші газів і газів з повітрям. Конструкція і комплектаціяДля конструювання корпусів і елементів групового циклону СЦН-50 з 4 циліндрів стандартно використовується вуглецева сталь. На замовлення можна виготовити циклони з:
Група циклонів з чотирма одиночним циліндрами СЦН-50 включає в комплектацію такі елементи:
Креслення групи з чотирьох циклонів СЦН-50 на загальному бункері
Купити циклон СЦН-50 Ви можете в нашій компаніїКупити оптимальне обладнання за найвигіднішими цінами можна на сайті нашої компанії. Наші фахівці максимально швидко оброблять Вашу заявку і нададуть всю необхідну інформацію, а також нададуть допомогу при виборі необхідного обладнання, враховуючи всі побажання замовника і специфіку приміщення. |
Новини, огляди та акції
