Новини, огляди та акції
Новини, огляди та акції
|
|
|
|
|
|
(0)
|
Циклон СЦН-40-1200 ефективно очищає повітряні суміші від забруднювачів за допомогою відцентрової сили, відрізняється корозійностійкістю, високою продуктивністю, можливістю роботи з абразивними частками в нестандартному виконанні.
0ПРИМІТКА: ціни на циклони СЦН-40 дано без вартості бункера, постаменту і пилового засува (вартість розраховується окремо). Ціни на групові циклони дивіться нижче в таблицях.
Циклон СЦН-40-1200 відносять до виду циклонів-фільтрів, які використовують у галузях промисловості абсолютно різних напрямків. Ці установки настільки ефективні, що не потребують додаткових фільтрів тонкого очищення і завдяки якості роботи і отримали свою класифікаційну назву. СЦН-40-1200 - універсальні, вони здатні максимально усунути не тільки пил звичайних розмірів, але навіть і дрібнодисперсні пилові фракції.
Батарейна установка, споруджена з однакових моделей, має ефективність, що в рази перевищує результати роботи одиничного циклона, а ступінь очищення, здійснена за допомогою такої споруди, буде майже ідентичною ступеню очищення циклонів з фільтрами тонкої очистки. Такі фільтри монтують на СЦН-40-1200 у виняткових випадках, оскільки і сам циклон є найбільш високоякісним і високоефективним серед аналогів, а батарейні з'єднання, природно, ще краще справляються з поставленими завданнями.
Циклон СЦН-40-1200 відомий стійкістю до різного роду деформацій корпусу завдяки надтвердому металу, з якого він виготовлений, а також надійністю, він має значно більший експлуатаційний термін в порівнянні з аналогічними циклонами. Крім вищезазначених переваг, СЦН-40-1200 використовується і як пиловловлювач для частинок з підвищеною абразивністю. Саме з цією метою створені були різні варіації збірки циклонів: в даному випадку Вам необхідний циклон не в стандартному виконанні, а з потовщеного металу.
Дуже важливо в процесі роботи циклона стежити за тим, щоб рівень пилу не перевищував рівень площини, розташованої на 0,5 діаметра від кришки бункера циклона і за герметичністю вигружних пристроїв, так як їх негерметичність при наявності у бункері тиску вище, ніж атмосферний, веде до вкрай небажаного викиду пилу в навколишнє середовище. З цією метою потрібно безперервно вивантажувати пил, здійснювати регулярні техогляди.
Більш докладну інформацію про циклон СЦН-40 дивіться ТУТ!
СЦН-40 |
СЦН-40х2 |
СЦН-40х4 |
|
|
|
|
Циклони СЦН-40х2 груповi |
|||||
|
Найменування |
Продуктивнiсть по повiтрю м3/ч |
Розмiри в мм |
Маса, |
Цiна, грн. |
|
|
D H |
|||||
|
Циклон СЦН-40-1200х2 |
12900-15365 |
1200 |
5770 |
2893 |
89828 |
|
Ціни на циклони СЦН-40 дано без вартості бункера, постаменту і пилового затвора (вартість розраховується окремо). |
|||||
Циклони СЦН-40х4 груповi |
|||||||
|
Найменування |
Продуктивнiсть по повiтрю м3/ч |
Розмiри в мм |
Маса, |
Цiна, грн. з ПДВ |
|||
|
D H Ширина H5xB |
|||||||
|
Циклон СЦН-40-1200х4 |
25880?30730 |
1200 |
8480 |
3165 |
922x394 |
5770 |
179159 |
|
Ціни на циклони СЦН-40 дано без вартості бункера, постаменту і пилового затвора (вартість розраховується окремо). |
|||||||
|
D мм |
D1 мм |
D2 мм |
D3 мм |
Н мм |
Н1 мм |
Н2 мм |
Н3 мм |
Н4 мм |
Н5 мм |
H6 мм |
L1 мм |
L2 мм |
L3 мм |
|
1200 |
920 |
2470 |
300 |
8480 |
6904 |
6261 |
1680 |
984 |
922 |
2536 |
2682 |
394 |
456 |
Характеристики |
|
|
№ Циклона |
СЦН-40-1200 |
|
Продуктивнiсть по повiтрю |
5290?7730 м3/ч |
|
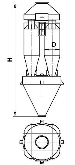
Дiаметр |
1200 мм |
|
Висота |
4468 мм |
|
Вхiдний патрубок |
500x248 мм |
|
Маса |
210 кг |
|
|
|
|
|
|
(0)
|
|
|
|
|
|
|
(0)
|
|
|
|
|
|
|
(0)
|
|
|
|
|
|
|
(0)
|
Новини, огляди та акції



