Новости, обзоры и акции
Новости, обзоры и акции
|
|
|
|
|
|
(0)
|
Циклон СИОТ-3 продуктивно очищает воздушные потоки от известковой пыли, которая возникает на сахарных заводах в процессе переработки сахара-песка, и на многих других подобных предприятиях.
ПРИМЕЧАНИЕ: Цены на циклоны СИОТ даны без стоимости бункера, постамента и пылевого затвора (стоимость рассчитывается отдельно).
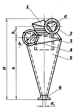
Циклон СИОТ-3 – это промышленный пылеуловитель, который имеет множество преимуществ: осуществляет эффективную очистку воздуха на сахарных заводах от известковой пыли, благодаря специальной конструкции его можно размещать в помещениях, экономя на подогреве воздухе, надежен и имеет доступную цену. Циклон данной модели характеризуется треугольной формой входного патрубка и отсутствием цилиндрической части корпуса. Конусообразный корпус обеспечивает интенсивную очистку воздуха.
Допустимая запыленность воздуха, г/м3 не более 300. Температура очищаемого воздуха, °С не более 400. Коэффициент гидравлического сопротивления 60-120. Эффективность очистки от пыли = 10 мкм, плотностью 2,72 (см3), 90%. Максимальное давление (разряжение) Па 5000.
Процесс техобслуживания заключается в выгрузке пыли из бункера циклона, которая может осуществляться двумя способами: либо непрерывно, либо периодически. В первом случае пыль транспортируется с помощью мусорных контейнеров, автомашин, евромешков. В случае непрерывного пневматического удаления, пыль может транспортироваться из бункера непосредственно, при этом требуется специальный пылевой затвор и электропривод.
Более подробную информацию о циклонах СИОТ смотрите ЗДЕСЬ!
Общий вид циклона СИОТ-3 |
||
|
|
||
|
1 - раскручиватель с винтовой крышкой, 2, 4 – выходной и входной патрубок, 3 – крышка корпуса, 5 – корпус, 6 – пылеотводящий патрубок, 7 – раскручиватель (плоский щит), 8 – колпак. |
||
Раскручиватель с винтовой крышкой |
Раскручиватель - плоский щит |
Шахта с колпаком |
|
|
|
|
|
Размеры в мм |
|||||||||||||||||||
|
СИОТ |
А |
А1 |
А2 |
А3 |
Б |
Б1 |
Б2 |
Б3 |
Б4 |
D |
H |
h |
h1 |
h2 |
h3 |
h4 |
d |
d1 |
d2 |
|
3 |
1242 |
651 |
465 |
240 |
1184 |
610 |
450 |
624 |
1350 |
1242 |
2995 |
2400 |
407 |
305 |
165 |
1040 |
300 |
120 |
570 |
Характеристики |
|
|
№ Циклона |
СИОТ-3 |
|
Производительность по воздуху |
4500 м3/ч |
|
Диаметр |
1242 мм |
|
Высота |
2995 мм |
|
Масса |
148 кг |
|
|
|
|
|
|
(0)
|
|
|
|
|
|
|
(0)
|
|
|
|
|
|
|
(0)
|
|
|
|
|
|
|
(0)
|
Новости, обзоры и акции




