Новости, обзоры и акции
Новости, обзоры и акции
|
|
|
|
|
|
(0)
|
Axis-QR 400 4Е - регулирование скорости может осуществляться автотрансформаторным, тиристорным регулятором в плавном или ступенчатом режиме.

Axis-QR 400 4Е - вентиляторы являются идеальным решением при перемещения большого воздушного объёма. Устройства применяются в системе вентиляции в случае её невысокого аэродинамического сопротивления. Способ вывода отработанного воздуха – прямой.
Используются для организации подпора в противопожарной вентиляции, в холодильной технике, с целью охлаждения конденсаторных/компрессорных блоков. Производительность – 5 280 м³/час.
Конструкция обработана стойким полимерным красителем. В комплекте поставки включена монтажная пластина круглой формы, которая облегчает настенное крепление. Подключение питания осуществляется посредством клеммной коробки.
После срабатывания тепловой защиты (в случае перегрева) происходит автоматический перезапуск вентилятора. На асинхронном двигателе с двумя, либо четырьмя полюсами, крепится внешний ротор. Вся конструкция двигателя зафиксирована на шариковых подшипниках.
Регулирование скорости может осуществляться автотрансформаторным, тиристорным регулятором в плавном или ступенчатом режиме (устройства приобретается отдельно).
Осевой вентилятор Axis – QR |
|
|
|
|
| Параметры | Axis-QR 400 4Е |
|
Напряжение, В/50Гц |
230 |
|
Потребляемая мощность, Вт |
180 |
|
Ток, А |
0,82 |
|
Максимальный расход воздуха, м³/час |
3580 |
|
Частота вращения, мин -1 |
1380 |
|
Уровень звукового давления (расстояние 3 м), dB (A) |
63 |
|
Максимальная температура перемещаемого воздуха, ⁰С |
-30…+60 |
|
Класс защиты |
IP X 24 |
%20Axis-QR.jpg)
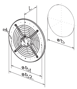
Осевой вентилятор Axis – QR |
||||||
| Тип | Размеры, мм | Масса, кг | ||||
| ØD | Ød1 | B1 | B2 | L | ||
|
Axis-QR 400 4Е |
417 |
9 |
504 |
528 |
240 |
8,27 |
%20Axis-QR%20400%204Еrc.gif)
|
|
|
|
|
|
(0)
|
|
|
|
|
|
|
(0)
|
|
|
|
|
|
|
(0)
|
|
|
|
|
|
|
(0)
|
Новости, обзоры и акции

