Новости, обзоры и акции
Новости, обзоры и акции
Наша проектно-монтажная компания предлагает комплексное решение задач по проектированию систем вентиляции любого уровня сложности, подбор оптимального оборудования для систем вентиляции в соответствии с техническим заданием и пожеланиями заказчика, а также монтаж «под ключ» и пуско-наладочные работы.
Система вентиляции играет основополагающую роль в формировании микроклимата внутри любого типа помещений. Она обеспечивает необходимые параметры, такие как температура воздуха, его влажность, скорость движения воздушных потоков. Это те факторы, от которых зависит комфортное пребывание и здоровое самочувствие людей.
Существует два основных типа вентиляции: естественная и принудительная, или механическая.
Естественная система вентиляции основывается на физических принципах движения воздуха, а именно на разности давления и температуры внутри и снаружи помещения. Такая система вентиляции не требует специального оборудования, но в то же время зависит от атмосферных изменений, поэтому является неустойчивой.
Механическая система вентиляции напротив, устойчива к атмосферным перепадам, принцип работы заключается в подаче или удалении воздуха принудительно с помощью вентиляционного оборудования.
В многоквартирных домах используется несколько видов приточно-вытяжных систем вентиляции:
Табл.1 Виды систем вентиляции в зависимости от категории комфортности жилья
|
№ |
Категория комфортности жилья |
Вид приточной системы |
Вид вытяжной системы |
|
1. |
Эконом |
Естественная |
Естественная |
|
2. |
Эконом |
Естественная |
Централизованная принудительная |
|
3. |
Среднее и эконом |
Естественная |
Индивидуальная принудительная |
|
4. |
Среднее |
Централизованная принудительная |
Естественная |
|
5. |
Среднее |
Индивидуальная принудительная |
Естественная |
|
6. |
Среднее |
Централизованная принудительная |
Централизованная принудительная |
|
7. |
Среднее |
Централизованная принудительная |
Индивидуальная принудительная |
|
8. |
Среднее и элитное |
Индивидуальная принудительная |
Индивидуальная принудительная |
|
9. |
Среднее и элитное |
Индивидуальная принудительная |
Централизованная принудительная |
|
10. |
Элитное и бизнес-класс |
Система с индивидуальной или централизованной системой с рекуперацией тепла |
Система с индивидуальной или централизованной системой с рекуперацией тепла |
Квартиры среднего класса – те квартиры, которые располагаются в многоэтажках с количеством квартир на этаже не больше 8, с развитой инфраструктурой возле дома, местами для парковки и детскими площадками.
Квартиры элит-класса – кирпичные дома с нестандартной планировкой, по 2-4 квартиры на этаже, с подземной парковкой, развитой инфраструктурой, детскими и спортивными площадками.
Из этого следует, что чем выше класс комфортности жилья, тем выше требования к качеству и исполнению систем вентиляции.
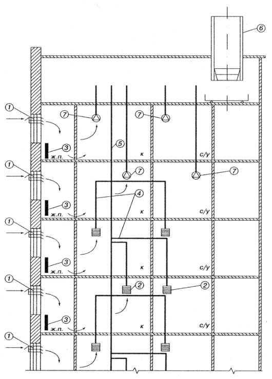
Говоря о системах естественной вытяжной вентиляции стоит сказать, что такие системы представляют собой вентиляционные вытяжные короба, которые проходят по всей высоте здания и выходят на чердак, если он есть, либо же непосредственно на крышу. Такие системы удаляют воздух из кухонь, санузлов и ванных комнат с помощью вытяжных решеток либо клапанов. При этом, такие системы стоит делать отдельными для кухонь и санузлов с ванными, если же такой возможности нет, тогда ставятся воздушные клапаны на каждом подсоединении к основному вентиляционному каналу. Это делается во избежание перетекания загрязненного воздуха с одних помещений в другие.
Если в доме есть теплый чердак, то удаляемый воздух сначала поступает на чердак, после чего весь удаляемый воздух выбрасывают в атмосферу с помощью общей вытяжной шахты.
На последних этажах чаще всего проектируются самостоятельные вытяжные системы, где удаление воздуха осуществляется с помощью небольших канальных вентиляторов. Это происходит потому, что из-за перепада высоты, а значит и давления между первыми и последними этажами высокая вероятность того, что загрязненный воздух из нижних этажей будет подсасываться в квартиры последних. Число таких квартир определяется расчетом.

Рис.1 Пример естественной вытяжной системы вентиляции многоэтажного дома с раздельным и общим вытяжным каналом/с раздельным сборным вытяжным каналом
-Устройство для естественной приточной системы вентиляции в виде приточного клапана;
-Вытяжное устройство, в виде решетки;
-Отопительный прибор;
-Вытяжные каналы;
-Общий сборный вытяжной канал;
-Общая вытяжная шахта/шахта с дефлектором;
-Индивидуальный вытяжной вентилятор;
-Обратный клапан.
Для правильной организации естественного воздухообмена в многоэтажных зданиях стоит делать расчет естественной системы вентиляции:
Располагаемое расчётное давление для квартир каждого этажа определяется по формуле:
∆pрасп=g (ϱн-ϱв )h, Па
где ϱн – плотность наружного воздуха, кг⁄м3;
ϱв – плотность внутреннего воздуха, кг⁄м3;
g - величина ускорения свободного падения (9,81 м⁄с2);
h - расстояние от центра приточного проема до центра вытяжного по вертикали, м.
Потери давления в канальной системе вентиляции должны быть меньше располагаемого давления на 10%.
∆pрасп=0,9 (∆pприт+∆pвыт+∆pспут+∆pкан+∆pт.чер+∆pшахт), Па
где ∆pприт – потери давления в приточных решетках или клапанах;
∆pвыт – потери давления в вытяжных устройствах;
∆pспут – потери давления в спутнике;
∆pкан – потери давления на теплом чердаке;
∆pшахт – потери давления в вытяжной шахте.
При этом (∆pвыт+∆pвыт+∆pспут) ≥6÷9 Па.
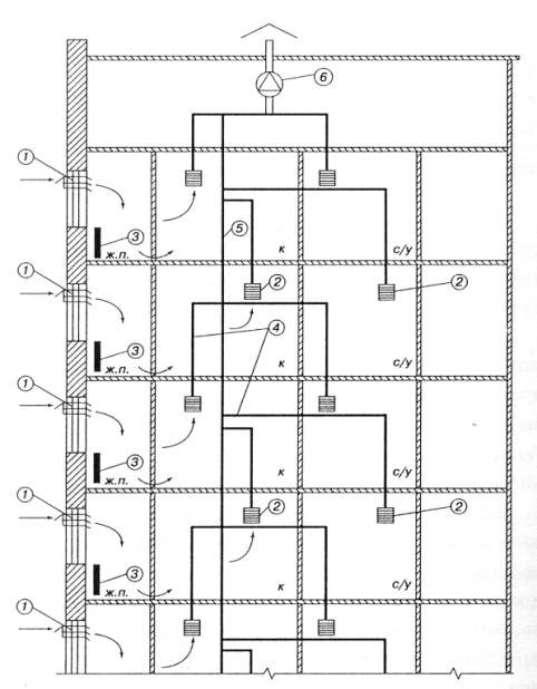
Системы механической вытяжной системы вентиляции тоже осуществляются за счет вытяжных решеток или клапанов, размещаемых в помещениях кухонь, санузлов и ванных комнат. Удаляемый воздух перемещается по вертикальным сборным каналам, которые могут быть как общими, так и раздельными для этих помещений – такие системы являются централизованными. Далее они объединяются в один общий канал с центральным крышным, либо же с индивидуальными вытяжными вентиляторами. При этом воздуховоды, выходящие из квартир должны иметь обратные клапаны во избежание перетекания воздуха между квартирами.
Возможна похожая система удаления с помощью вентиляторов, которые располагаются в каждой квартире отдельно. При чем они объединяются в общие воздуховоды и выкидывают воздух через вытяжные зонты на крыше.
Подача свежего воздуха может осуществляться несколькими способами:
- с помощью клапанов, которые располагаются в стенах или окнах. При этом системы с клапанами, имеющие в своем составе вентиляторы, называют механическими системами приточной вентиляции;
- организованной системой подачи подготовленного воздуха – то есть принудительная система приточной вентиляции, при этом необходимое для этого оборудование располагается в подвальных помещениях, забор воздуха происходит на высоте не меньше 2 м над уровнем земли либо в каждой квартире по отдельности;
-приточно-вытяжная система без или с частичным подогревом воздуха за счет теплообменника, который обогревает приточный воздух теплом удаляемого воздуха. Такие системы могут располагаться на теплом чердаке, но более удобными являются индивидуальные приточно-вытяжные системы, которые находятся в каждой квартире отдельно.

Рис.2 Механическая система удаления воздуха с естественной системой подачи воздуха в помещения за счет приточных клапанов
-Устройство для естественной приточной системы вентиляции в виде приточного клапана;
-Вытяжное устройство, в виде решетки;
-Отопительный прибор;
-Вытяжные каналы;
-Общий сборный вытяжной канал;
-Вытяжной вентилятор
Рис.3 Механическая вытяжная система с принудительной централизованной подачей воздуха
Рис.4 Приточно-вытяжная централизованная система вентиляции с рекуператором
Наиболее эффективным способом подачи воздуха в квартиру является использование механической системы подачи и удаления воздуха. Это обеспечит приток необходимой температуры и качества воздуха, благодаря этому уменьшиться нагрузка на систему отопления, по сравнению с использованием естественного притока воздуха.

Рис. Схема распределения воздушных систем и потоков при использовании отдельных приточных и вытяжных систем воздухообмена
Приточная система механической вентиляции в квартире представляет собой установку, которая может состоять как из наборных отдельных элементов, так и быть моноблочной установкой.
Система приточной вентиляции имеет в своем составе такие элементы:
Наружную приточную вентиляционную решетку
Такие решетки обычно выполняются из материалов, которые не подвергаются коррозии. Они предотвращают попадание осадков и насекомых в воздуховоды. Могут быть круглой и прямоугольной формы.

Рис. Пример решетки круглой и прямоугольной формы
Фильтр
Представляет собой устройство, которое задерживает частицы пыли и загрязнений, тем самым предотвращая их попадание в систему приточного воздуха.
По классу эффективности они делятся на несколько типов:
-Фильтры грубой очистки – чаще всего сетчатые панельные фильтры, которые выполняют функции очистки воздуха от крупных частиц. Используются для первой ступени очистки воздуха.
Рис. Пример фильтра грубой очистки
-Фильтры тонкой очистки – карманные или панельные фильтры, которые выполняются на основе стекловолоконной ткани. Используются для второй ступени очистки воздуха от более мелких примесей и частиц.
Рис. Пример фильтра тонкой очистки
-Фильтры особо тонкой очистки – используются, зачастую, для подачи воздуха в помещения с повышенными требованиями к чистоте воздуха. Это могут быть помещения операционных, пищевой промышленности, помещения для сбора радиодеталей и т.д.
Рис. Пример фильтра особо тонкой очистки
-Угольные фильтры – используются для поглощения неприятных запахов, а также органических соединений, за счет пористого материала (активированного угля), который содержится в их составе.
Рис. Пример угольного фильтра
Для фильтрации воздуха в квартирах чаще всего используются фильтры грубой очистки, либо угольные фильтры. Если квартира находиться в большом городе или мегаполисе, где качество наружного воздуха плохое, тогда нужна еще и система тонкой фильтрации. Тогда приточные системы имеют в своем составе ступенчатую систему фильтрации, состоящую из фильтра грубой очистки, фильтра тонкой очистки и угольного фильтра.
Рис. Разница в использовании и не использовании системы фильтрации в системах приточной вентиляции
а) б)


а) Система приточной вентиляции без системы фильтрации;
б) Система приточной вентиляции из системой фильтрации.
3. Вентилятор
Используется для принудительной подачи и забора воздуха из помещения. В квартирах чаще всего используются канальные вентиляторы.
Характеристики канальных вентиляторов:
- Отличаются компактными габаритами,
- Могут быть разного сечения: круглого, прямоугольного, квадратного;
- Имеют невысокий уровень шума при работе;
- Отличаются скоростью и легкостью при монтаже.
Рис. Пример канального вентилятора круглого сечения
Воздухонагреватель
Для того, чтобы в холодный период года воздух, который подается в помещение квартиры был подготовленным, используют воздухонагреватели. Они состоят из наружного корпуса из оцинкованной стали, внутри которого проходят нагревательные элементы, чаще всего из нержавеющей стали. Могут быть как круглого, так и прямоугольного сечения.
Рис. Пример круглого электрического воздухонагревателя
Шумоглушитель
Для снижения уровня шума в системах принудительной системы как подачи, так и удаления воздуха, используются шумоглушители. Они представляют собой короб из звукопоглощающим материалом определенной толщины. Таким материалом обычно бывает минеральная вата или стекловолокно.
Различают несколько типов шумоглушителей:
Пластинчатые – являют собой коробку из металла, разделенную внутри вдоль прохода воздуха пластинами, которые организовывают поглощение звука. Обычно используются в системах с большими размерами воздуховодов.
Рис. Пример пластинчатого шумоглушителя
Трубчатый шумоглушитель – представляет собой две трубы круглого либо прямоугольного сечения, которые вставлены одна в другую. При этом наружная труба гладкая, а внутренняя перфорированная. Пространство между ними наполнено минеральной ватой или стекловолокном.
Рис. Пример трубчатого шумоглушителя
Также существуют готовые решения приточных установок, которые уже имеют в своем составе фильтр, электронагреватель, вентилятор и шумоглушитель. Такие установки отличаются своей компактностью и легкостью монтажа и в последнее время все чаще используются для подачи подготовленного воздуха.
Рис. Пример моноблочной приточной установки
В качестве вытяжной системы принудительной вентиляции используются системы из осевыми или центробежными вентиляторами, для удаления загрязненного воздуха из помещения.
Требования, которые выдвигаются к подаче и удалению воздуха из квартир многоэтажных домов:
При подаче воздуха в помещение, к нему выдвигаются требования по чистоте, а именно по содержанию вредных веществ, концентрация которых должна быть не выше предельно допустимой концентрации.
Табл.2 Предельно допустимые концентрации вредных веществ в приточном воздухе
|
Наименование вещества |
Предельно-допустимая концентрация вещества в воздухе |
|
|
Максимальная разовая |
Среднесуточная |
|
|
Двуокись азота |
0,085 |
0,04 |
|
Свинец |
0,001 |
0,0003 |
|
Окись углерода |
5 |
3 |
|
Нетоксическая пыль |
0,5 |
0,15 |
|
Сернистый ангидрид |
0,05 |
0,05 |
|
Фенол |
0,01 |
0,003 |
|
Углеводороды (бензол) |
0,3 |
0,1 |
Приточный воздух должен поступать в жилые помещения, вытяжной воздух забираться из подсобных помещений.
Рис.5 Схема перетекания воздуха в квартире
Все системы вентиляции должны проектироваться с возможностью регулирования приточного и вытяжного воздуха в каждой квартире отдельно.
Для подогрева приточного воздуха, который поступает за счет естественной системы приточной вентиляции в жилые помещения, или помещения кухни, приточные клапаны следует размещать в верхней части стены или окна, или под окном над отопительным прибором.
Систему воздухообмена следует организовывать таким образом, чтобы избежать перетекания воздуха с нежилых зон в жилые.
Для поступления воздуха в помещения кухонь, ванных комнат и санузлов двери должны иметь решетки в нижней части, при этом скорость перетекания воздуха через них не должна превышать 0,3 м/с.
При работе вытяжного зонта над варочной поверхностью плит в помещениях кухонь должен предусматриваться, в обязательном порядке, клапан, который будет компенсировать удаляемый воздух.
Для экономии энергии на подогрев приточного воздуха, а также для того, чтобы уменьшить нагрузку на систему отопления рекомендуется использование устройств для рекуперации приточно-вытяжного воздуха с помощью теплообменников.
Рекуператоры – это теплообменники, которые позволяют использовать тепло уходящего воздуха для подогрева приточного.
Они существуют нескольких типов и разделяются на такие виды:
По направлению движения теплоносителя бывают:
По температуре теплоносителя различают:
По типу строения разделяют на:
Кожухотрубные теплообменники имеют в своей основе трубы, которые размещены в трубных досках. При этом трубное и межтрубное пространство не соединены между собой и разделены перегородками. Теплообмен происходит за счет контакта между стенками трубок. Область применения таких теплообменников – для нагрева хладагента в тепловых насосах и охлаждение рабочих жидкостей в чиллерах.

Рис.6 Схема кожухотрубного теплообменника
Спиральные теплообменники являют собой устройство, состоящее из металлических листов, закрученных вокруг основной трубы, которая разделена на 2 камеры, для входа и выхода теплоносителя. Таким образом между стенками происходит процесс теплопередачи. Применяются они во многих отраслях, таких как нефтепереработке, химической, текстильной промышленности, фармацевтике. Рабочим веществом при этом чаще всего является жидкость, в некоторых случаях из твердыми включениями.
Рис.7 Схема спирального теплообменника
1,2 – металлические листы;
3 – перегородка;
4 – крышка;
5 – прокладка;
6 – фланец;
7 – дистанционная прокладка с одной стороны канала;
8 – сварка.
Роторные теплообменники являют собой вращающийся цилиндр (ротор), который состоит из набора тонких алюминиевых пластин. Передача тепла происходит за счет нагревания теплым газом пластинок ротора, которые при вращении контактируют из потоками холодного газа, и нагревают его. Чаще всего используются в системах вентиляции, для подогрева приточного воздуха за счет удаляемого.
Рис.8 Схема роторного теплообменника
Пластинчатые теплообменники – рекуператоры, которые состоят из пластин, которые выполнены из инертных материалов, стойких к коррозии. Теплопередача в них происходит за счет обмена теплом через пластины, при этом эти пространства не перемешиваются. Используются в системах вентиляции, отопления, пищевой, металлургической промышленности.
Рис.9 Схема пластинчатого теплообменника
Оребренный пластинчатый рекуператор – теплообменник, состоящий из тонкостенных панелей, которые сварены между собой поочередно, под углом 90°С. Используется в системах вентиляции, пищевой и легкой промышленности.
Рис.10 Схема пластинчатого оребренного теплообменника
В качестве теплообменников в квартирах используются пластинчатые рекуператоры мембранного типа. Они входят в состав приточно-вытяжных установок. Такие установки состоят из приточного и вытяжного вентилятора, приточного и вытяжного фильтра, теплообменника и системы автоматического управления. Являются наиболее эффективным способом организации воздухообмена в квартире.

Рис. Схема работы приточно-вытяжной установки в квартире
Они бывают разных модификаций: горизонтальные, вертикальные, подвесные, напольные. Такие установки чаще всего устанавливают на балконах, выбор установки производят исходя из конструктивных особенностей лоджии или балкона, а также количества воздуха, которое нужно подать и удалить из помещения.
Еще одним видом теплообменника для квартиры является местный бытовой рекуператор. Суть его работы заключается в том, что он позволяет вернуть до 65% тепла уходящего воздуха и использовать его на обогрев приточного до комнатной температуры, не смешивая при этом воздушные потоки. При чем конструктивно он размещается в стене, хотя возможен вариант размещения в системе воздуховодов. Он позволяет подать и удалить небольшие объемы воздуха, но зато отличается компактностью и может быть размещен в любом помещении.
Рис. Пример бытового рекуператора
Все расчеты по подбору оборудования нужно вести исходя из нормируемых величин расхода воздуха для каждого типа помещения.
Табл.3 Нормы воздухообмена в помещениях квартир многоэтажных домов
|
Наименование помещения |
Норма воздухообмена |
Примечания |
|
Жилая зона |
30 м3/ч на одного человека или 3 м3/м2 площади помещения |
Для расчета воздухообмена исходя из площади, стоит учитывать площадь всей квартиры. |
|
Кухня |
60 м3/ч при электрической плите; 90 м3/ч при 4-х конфорочной газовой плите |
Приточный воздух может поступать методом перетекания из жилых помещений, а также непосредственно в кухню с помощью приточных клапанов или решеток принудительных или естественных систем приточной вентиляции |
|
Ванная комната, санузел |
75 м3/ч на одну ванную или душевую кабинку; 100 м3/ч – на один унитаз; 25 м3/ч – на один писсуар |
Приточный воздух поступает из жилых комнат |
Более подробную информацию о вентиляции в квартирах многоэтажных домов Вы сможете найти на страницах ДБН В.2.2-15-2005 «Жилые здание и сооружения», ДБН В.2.5-67-2013 «Отопление, вентиляция и кондиционирование воздуха», книг И.Ф.Ливчака, А.Л.Наумова «Вентиляция многоэтажных жилых зданий» и В.С.Андреева «Вентиляция и кондиционирование квартиры, бани, загородного дома».
Подведя итог, стоит отметить, что квартиры – это места постоянного пребывания людей, от микроклимата и воздушного режима которых зависит жизнь и здоровье, проживающих в них людей. Поэтому к выбору системы вентиляции нужно подходить с особой серьезностью и ответственностью. Для этого лучше обратиться в нашу фирму, специалисты которой смогут провести необходимые расчеты на основе исходящей информации, подобрать необходимое оборудование и комплектующие, которые смогут организовать микроклимат Вашего дома максимально комфортным для пребывания в нем.
Наши приоритеты — это надежность, качество и эффективность, поэтому сотрудничая с нами, Вы имеете возможность по достоинству оценить все преимущества работы с профессионалами!
Новости, обзоры и акции