Новости, обзоры и акции
Новости, обзоры и акции
Крышные вентиляторы дымоудаления Интеркондиционер ВДРДВ |
||||
|
|
||||
|
Модель |
Диаметр рабочего колеса, мм |
Установочная мощность, кВт |
Частота вращения рабочего колеса, об/мин |
Масса, кг |
|
ВДРДВ-5.5-20 |
880 |
18,5 |
1450 |
163,5 |
|
ВДРДВ-5.5-20В |
880 |
18,5 |
1450 |
163,5 |
|
ВДРДВ-6,3.5-20 |
1170 |
11 |
970 |
295 |
|
ВДРДВ-6,3.5-20В |
1170 |
11 |
970 |
295 |
|
ВДРДВ-8.5-20 |
1380 |
22 |
730 |
630 |
|
ВДРДВ-8.5-20В |
1380 |
22 |
730 |
630 |
Радиальный вентилятор дымоудаления ВРДВ
представляет собой оборудование, задача которого заключается в удалении дыма и газовоздушных примесей, возникающих в процессе пожара. Широкое применение радиальные вентиляторы данной серии нашли в вытяжных вентиляционных системах на объектах промышленного, коммерческого и общественного назначения.
Корпус вентилятора выпускается во взрывозащищенном исполнении из разнородных металлов, которые позволяют применять устройство в химической, нефтеперерабатывающей и газовой промышленности. Оборудование линейки ВДРДВ может перемещать газовоздушные смеси, температура которых достигает 600 °С.
Внутри вентилятора установлен трехфазный асинхронный электродвигатель и высокоэффективная система охлаждения, которая защищает подшипниковые узлы от перегрева.
Безупречное качество;
Надежность;
Устойчивость к возгоранию и высоким темпеартурам;
Высокие прочностные характеристики;
Универсальность;
Эффективное удаление дымовых газов;
Отличные аэродинамические показатели;
Долговечность;
Устойчивость к агрессивным средам;
Легкость монтажа и обслуживания.
Серия крышных радиальных вентиляторов Интеркондиционер ВДРВ-5.5-20 рассчитан на работу при температуре окружающей среды от -40 до +40 °С
Установка оборудования осуществляется на кровле здания на специальную виброизолированную основу, которая поставляется по дополнительному запросу.
В нашем интернет-магазине Вы имеете возможность приобрести вентиляционное оборудование для систем дымоудаления торговой марки Интеркондиционер по самой лучшей цене. Для этого Вам достаточно позвонить нам по координатам, которые указаны на сайте или оставить заявку на обратный звонок.
Наши специалисты обладают высоким уровнем знаний и опыта, которые кажут квалифицированную помощь при выборе оборудования, а также сориентируют по актуальным на сегодняшний день ценам, акциям, скидкам и срокам поставки.
Быстрая обработка заявки;
Лучшие цены;
Выгодные условия покупки;
Полный спектр услуг — от проектирования до монтажа и обслуживания;
Возможность заказа одной конкретной услуги;
Мы поставляем продукцию высокого качества, которая соответствует всем требованиям стандарта качества;
Всевозможные акции и специальные предложения;
Постоянным клиентам предусмотрены скидки;
Грамотную и профессиональную помощь узкопрофильных специалистов на всех этапах;
Решение самых сложных и нестандартных задач.
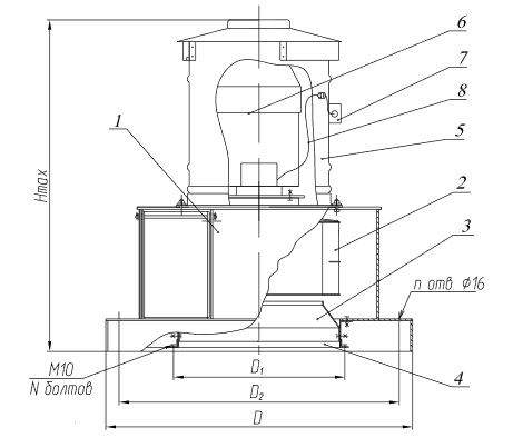
Габаритные размеры
Крышные вентиляторы дымоудаления Интеркондиционер ВДРДВ |
||||||
|
|
||||||
|
Модель |
Размеры, мм |
|||||
|
Габаритные |
Присоединительные |
Установочные |
||||
|
D |
Hmax |
N |
D1 |
D2 |
n |
|
|
ВДРДВ-5.5-20 |
880 |
1200 |
8 |
535 |
772 |
8 |
|
ВДРДВ-5.5-20В |
880 |
1200 |
8 |
535 |
772 |
8 |
|
ВДРДВ-6,3.5-20 |
1170 |
1360 |
8 |
658 |
1072 |
8 |
|
ВДРДВ-6,3.5-20В |
1170 |
1360 |
8 |
658 |
1072 |
8 |
|
ВДРДВ-8.5-20 |
1380 |
1600 |
12 |
830 |
1272 |
8 |
|
ВДРДВ-8.5-20В |
1380 |
1600 |
12 |
830 |
1272 |
8 |
Новости, обзоры и акции
