Новости, обзоры и акции
Новости, обзоры и акции
Наша проектно-монтажная компания предлагает комплексное решение задач по проектированию инженерных систем любого уровня сложности, подбор оптимального оборудования для систем промышленной вентиляции в соответствии с техническим заданием и пожеланиями заказчика, а также монтаж «под ключ» и пуско-наладочные работы.
Процесс проектирования холодильных камер начинается с Технического задания, в котором указывается тип хранимого продукта (овощи, фрукты, мясо, рыба, молочные продукты и прочее), количество хранения и предназначение холодильника (охлаждение, заморозка, хранение, универсальный, разгрузочный, накопительный, экспедиционный и прочее). В соответствии со строительными нормами, по типу, объему и количеству хранимого продукта определяется степень огнестойкости и этажность холодильной камеры. Одноэтажные холодильные камеры возводят для плодоовощной и молочной продукции при массе хранения до 5000 тонн, а также для розничной торговли и небольших холодильных камер с массой хранения до 250 тонн. Многоэтажные (от 2 до 6 этажей) холодильные камеры возводят для хранения мяса, рыбы и прочих продуктов при массе хранения более 700 тонн по II степени огнестойкости.
В конструкции фундамента, пола, наружных стен и плит перекрытий холодильной камеры применяется сплошной красный кирпич или морозостойкий бетон. Наружные стены и перегородки между холодильными камерами состоят из трех слоев: кирпичная или бетонная стена, пенополиуретановая изоляция толщиной 150мм и обшивка из металлических оцинкованных листов. Для защиты хранимых продуктов от грызунов в их конструкции пустоты запрещены. Кровля холодильной камеры должна иметь уклон не менее 1,5%. Для многоэтажных холодильных камер проектируется организованный водосток.
Для предотвращения промерзания грунтов под основанием фундамента и пола применяется система искусственного обогрева грунта (электрический обогрев или обогрев незамерзающей жидкостью), устройство проветриваемого подполья и другие системы защиты.
Холодильные камеры оснащаются специальными одностворчатыми или двустворчатыми распашными или откатными холодильными дверьми, в которых смонтирован тэном оттайки для предотвращения примерзания двери.
В помещении холодильной камеры необходимо монтировать системы сигнализации: безопасности «человек в камере», пожарную и охранную, которые выводятся в операторскую или диспетчерскую с круглосуточным пребыванием людей.
Холодильные камеры для розничной торговли и предприятий общественного питания объемом до 1000 куб.м. с помощью погонажных сендвич-панелей можно монтировать в обособленных помещениях. Погонажные сендвич-панели с толщиной ППУ 80-100мм имеют большое число типоразмеров и замковое соединение панелей в виде эксцентриков. Это позволяет производить многократную сборку и разборку без заметной потери внешнего вида и функциональности холодильной камеры.
Для отвода теплоты от продуктов различают две схемы холодоснабжения:
1. С непосредственным испарением хладагента в технологическом аппарате.
2. С промежуточным хладагентом или рассольное охлаждение.
Схема холодоснабжения с непосредственным испарением может быть с насосной подачей хладагента или естественным подпором без насоса. Схема холодоснабжения с промежуточным хладагентом проектируется в открытом или закрытом исполнении.
В холодильных камерах для пищевой промышленности чаще всего применяется схема холодоснабжения с непосредственным испарением хладагента в испарителе. Причем испаритель прямоточный с параллельной и последовательной, нижней и верхней подачей, с отделителями жидкости, напородержателями, увлажнителями и прочим.
Холодильные камеры - это единый комплекс, который состоит из холодильной машины, приборов автоматики, трубопроводов и ограждающих сооружений. Холодильные камеры предназначены для получения, использования и транспортирования искусственного холода в технологических процессах для пищевой, химической, металлургической, горной, нефтяной, газовой и медицинской промышленности.
История современных холодильных камер начинается с 1834г., когда была изобретена компрессионная холодильная машина для охлаждения и перевозке скоропортящихся продуктов. Первая установка для замораживания мяса была построена в 1861г. в Австралии. В 1876 г. на судне-рефрижераторе с машинным охлаждением было впервые перевезено мясо. С 1858г. в США эксплуатируются изотермические вагоны с ледяным охлаждением. В 1888г. первую холодильную машину в России применили на рыбных промыслах в Астрахани.
Рис.1. Современная холодильная камера.
Применение искусственного холода находит все большее применение во многих отраслях народного хозяйства. Рассмотрим наиболее важных из них:
1. Производство пищевых продуктов охватывает сельское хозяйство, перерабатывающие предприятия пищевой промышленности, предприятия мясной и молочной промышленности, торговлю; транспорт (автомобильный, железнодорожный, речной и морской), рыбодобывающую и рыбоперерабатывающую с рыбопромысловыми и перерабатывающими базами и судами.
2. В нефтегазовой промышленности искусственный холод применяют при подготовке газа к транспортированию и при переработке нефтяных и природных газов газоконденсатных месторождений.
3. В химической промышленности для получения этилена, фармацевтических и биохимических препаратов, производства азотное, синтетического каучука, хлора, химических волокон и прочее.
4. Холод применяется при термической обработке сталей, стабилизации и восстановлении размеров деталей, запрессовке для создания неподвижных посадок, для охлаждения ванн анодирования, старения алюминиевых сплавов, осушке сжатого воздуха, гибке труб с замороженной в них водой, в установках кондиционирования воздуха.
5. В строительной технологии применяют искусственный и естественный холод для замораживания грунтов при строительстве подземных сооружений, (шахт, туннелей, хранилищ сжиженного газа), для создания противофильтрационных завес в плотинах мерзлого типа и укрепления грунтов у основания зданий и сооружений.
По назначению холодильное хранение принципиально отличается от холодильной обработки.
Цель холодильной обработки — изменение состояния продукта по температуре как главному параметру холодильной технологии. Это изменение сопровождается усушкой, биохимическими и многими другими изменениями, которые связанны с температурой. При холодильной обработке от продукта отводится теплота.
Задача холодильного хранения — замедлить те процессы (усушка, окисление), которые ухудшают качество продуктов, а для этого требуется поддержание постоянной температуры продукта. Усушка пищевых продуктов сопровождается испарением воды или сублимацией льда с их поверхности и пропорциональна количеству теплоты, воспринимаемой или отдаваемой продуктом.
Холодильные камеры классифицируются по следующим показателям.
По назначению: стационарные, передвижные, утилизационные, для аккумулирования тепловой энергии, с централизованным и децентрализованным машинным отделением.
По температурному уровню, с которого производят отвод теплоты, холодильные камеры всех типов подразделяют на:
1. Высокотемпературные (диапазон охлаждения от -10 до +20 °С);
2. Среднетемпературные (от -30 до -10 °С);
3. Низкотемпературные (ниже -30 °С).
По холодопроизводительности холодильные камеры различают на: малые до 15 кВт, средние 15—120 кВт и большие свыше 120 кВт.
По типу применяемого хладагента: аммиак, фреон, этан, пропан, углекислота или смесь хладагентов.
По типу охлаждения: прямое или промежуточное охлаждение.
По ассортименту холодильные камеры разделяют на универсальные и специализированные. Универсальная холодильная камера предназначена для разных продуктов (мясо, рыба, овощи, фрукты и прочее), а специализированная для однотипных продуктов.
По вместимости холодильные камеры классифицируют на крупные – от 3000т, средние – от 1000 до 3000т и мелкие до 1000т.
По конструкции холодильные камеры относят к промышленным зданиям, где необходимо поддерживать низкую температуру и высокую относительную влажность воздуха.
Получение холода в холодильной камере происходит при изменении агрегатного состояния хладагента, который циркулирует по замкнутому контуру и проходит четыре фазы: сжатия и нагрева, охлаждения и сжижения, расширения и испарения.
Циркуляция хладагента по замкнутому контуру делится на низкое и высокое давления. Линия раздела замкнутого контура на низкое и высокое давление проходит между нагнетательным клапаном на выходе компрессора и выходом регулятора потока.
По свойствам хладагентов и степени их опасности, по действующим нормам, разделяют три группы:
Группа 1 – это нетоксичные и невзрывоопасные хладагенты.
Группа 2 – это токсичные хладагенты или смеси паров которые имеют нижнюю границу концентрационного предела распространения пламени хладагента более 3,5%.
Группа 3 - это хладагенты или смеси паров которые имеют нижнюю границу концентрационного предела распространения пламени менее 3,5%.
Классификация хладагентов по указанным трем группам приведена в таблице.
|
Группа хладагентов |
Цифровое обозначение |
Химическое название |
Химическая формула |
Нормальная температура кипения, °С |
|
1
|
R11 |
Трихлорфторметан |
CCl3F |
23,7 |
|
R12 |
Дихлордифторметан |
ССl2F2 |
-29,8 |
|
|
R12 B1 |
Дифторбромхлорметан |
CBrClF2 |
-3,8 |
|
|
R13 |
Трифторхлорметан |
CCIF3 |
-81,5 |
|
|
R13 B1 |
Трифторбромметан |
СВгF3 |
-55,8 |
|
|
R22 |
Дифтормонохлорметан |
CHClF2 |
-40,8 |
|
|
R23 |
Трифторметан |
СНF3 |
-82,2 |
|
|
R500 |
R 12 (73,8%) + R 152a (26,2%) |
CCIF2 + C2H4F2 |
-33,3 |
|
|
R502 |
R 22 (48,8%) + R 115 (51,2%) |
CHCIF2 + CClF5 |
-45,6 |
|
|
2
|
R717 |
Аммиак |
NH3 |
-33,3 |
|
R160 |
Этил хлористый |
С2Н5СI |
12,2 |
|
|
3
|
R170 |
Этан |
С2Н6 |
-88,6 |
|
R290 |
Пропан |
С3Н8 |
-42,2 |
|
|
R600 |
Бутан |
С4Н10 |
-0,6 |
|
|
R1150 |
Этилен |
С2Н4 |
-103,7 |
|
|
R1270 |
Пропилен |
С3Н6 |
-47,7 |
При проектировании холодильных камер необходимо учитывать группы применяемых хладагентов, категорию зданий и помещений, схемы холодоснабжения, а также количество хладагента по массе и размещение холодильного оборудования для холодильных камер.
Размещение холодильного оборудования для холодильных камер может быть выполнено по одному из следующих вариантов:
Вариант 1 – обособленного машинного отделения нет. Все холодильное оборудование размещено в помещениях одного здания.
Вариант 2 - холодильное оборудование размещено в обособленном машинном отделении одного здания.
Вариант 3 - машинное отделение устроено на открытой площадке, в обособленной пристройке или в отдельно стоящем здании.
Основными конструктивными элементами холодильной камеры являются компрессор, испаритель, конденсатор, регулятор потока (дроссельный вентиль или капиллярная трубка) и ограждающие конструкции.
Рис.2. Конструктивные элементы холодильной камеры.
Компрессор предназначен для нагнетания хладагента под высоким давлением в холодильный контур.
Конденсатор — это теплообменник, который обеспечивает отвод избыточного тепла в окружающую среду. Расположен на внешней стороне стены холодильной камеры.
Испаритель — это теплообменник для поглощения тепла в фазе испарения хладагента и выделения холода.
Пусковое реле, капиллярная трубка, фильтр-осушитель, реле защиты и терморегулятор предназначены для автоматизации работы холодильной камеры.
Холодильные камеры под ключ
Кроме стандартных холодильных камер наша компания проектирует и монтирует нестандартные холодильные камеры, которые могут быть отдельно стоящими или встроенными внутри существующих помещений, с учетом пожеланий и требований Заказчика. Холодильные камеры могут быть самых разных размеров и состоять из нескольких блоков с разными температурными режимами.
Применение погонажных сэндвич-панелей от ведущих производителей холодильных камер позволяет возводить стеновые панели с высоким коэффициентом теплозащиты и энергоэффективности.
Все материалы, применяемые при изготовлении холодильных камер, разрешены санитарными службами к применению в пищевой промышленности и имеют соответствующие сертификаты. Системы освещения холодильных камер комплектуются морозостойкими и влагостойкими светильниками, предназначенными для работы в условиях низких температур. По заданию заказчика стены камеры могут быть оборудованы удобными полками или вместительными стеллажами для хранения продуктов.
Для обеспечения необходимого температурного режима холодильные камеры оснащаются холодильными установками от ведущих производителей холодильного оборудования.
Проектирование, монтаж и пуско-наладка холодильных камер, осуществляется в сжатые сроки за счет оптимальных конструкторских решений и применения современных строительных технологий. Владея современными технологиями и обладая соответствующим опытом, специалисты нашей компании могут рассчитать проект и осуществить монтаж холодильной камеры для любого Заказчика.
В камерах хранения охлажденных продуктов температура составляет 0 – -1,5°С и применяются сухие воздухоохладители.
В камерах хранения мороженых продуктов температура составляет -18 – -30°С и применяются пристенные и потолочные батареи прямого охлаждения или воздухоохладители с регулируемым расходом воздуха.
В универсальных камерах хранения температура составляет 0 – -18°С при относительной влажности 85 – 95% и применяются пристенные или потолочные батареи, и воздухоохладители прямого охлаждения.
Рис.3. Потолочная батарея воздухоохладителей в холодильной камере.
Туннели предварительного охлаждения применяют на конвейере при движении мяса из цеха убоя скота и разделки туш в холодильник. Мясо интенсивно охлаждают воздухом со скоростью до 5 м/с до -20°С. Время охлаждении 15—20 мин.
Для охлаждения фруктов температуру воздуха в туннеле -2°С и скорости движения воздуха 2—3 м/с.
В камерах охлаждения для быстрого охлаждения парного мяса применяются воздухоохладители и системы механической активной вентиляции согласно технологического режима охлаждения.
Рис.4. Внешний вид и габариты внешнего блока – конденсатора и внутреннего
блока – испарителя воздухоохладителя для небольшой холодильной камеры.
В камерах замораживания температура составляет -18 – -35°С. Время замораживания зависит от типа и габаритов продукта, температуры и скорости движения охлаждающего воздуха.
В разгрузочной и накопительной камерах температура составляет -18 – -35°С при относительной влажность 90—95 %.
В камерах хранения дефектных продуктов температура составляет 0 – -18°С и применяются пристенные батареи прямого охлаждения.
В экспедиционных камерах температура составляет 0 – -18°С и применяются потолочные или стеллажные батареи прямого охлаждения.
Для расчета системы вентиляции необходимы данные по объему воздуха, описание технологического процесса, габарит холодильной камеры и условия подачи воздуха. Для холодильных камер задают количество воздуха в расчете на одну тонну продукта, указывают скорость движения его у продукта, производительность и вместимость или загрузку камеры.
В расчете определяется диаметр и длина воздуховодов; количество насадок, которые обеспечивают выполнение технологического процесса и потери давления при движении воздуха в системе вентиляции. Распределение воздуха должно быть равномерным по всему объему холодильной камеры.
Расчетную температуру воздуха и кратность воздухообмена в основных, вспомогательных и машинных отделениях холодильных камер необходимо принимать по действующим строительным и санитарным нормам.
Аварийная вентиляция машинного отделений должна иметь дублированный запуск из помещения, из диспетчерской и автоматический пуск при увеличении концентрации аммиака или фреона внутри помещения.
Вентиляторы и электродвигатели вытяжной и аварийной вентиляции машинных отделений холодильных камер должны быть во взрывобезопасном исполнении.
Для осуществления заданной холодильной технологии обработки пищевых продуктов очень важно поддерживать постоянными не только температуру и относительную влажность, но и газовый состав охлаждающей среды (воздуха) и ее скорость. Для этой цели применяют вентиляцию холодильной камеры.
Системы вентиляции различают по условиям создания движения воздуха, они делятся на три группы: естественная вентиляция, механическая общеобменная вентиляция и механическая активная вентиляция.
Естественная вентиляция применяется для малых холодильных камер. При вентиляции помещения создается небольшой естественный напор в 2-3 мм водяного столба и в грузовом объеме холодильной камеры, а особенно в штабеле, наблюдается неравномерное температурное поле.
Естественная вентиляция основного помещения холодильной камеры осуществляется через дверной проем, при его открывании. Кратность естественной вентиляции холодильной камеры составляет 1-4 раза в сутки.
Естественная вентиляция машинного отделения холодильной камеры осуществляется:
1. Через вертикальные шахты с удалением воздуха из верхней и нижней зоны помещения. Для повышения эффективности работы естественной вытяжки на вертикальных шахтах проектируются дефлекторы.
2. Через оконные и дверные проемы.
3. Через световые или светоаэрационные фонари на кровле машинного отделения.
4. Через приточные клапана в нижней зоне помещения.
Кратность воздухообмена в машинном отделении холодильных камер двухкратное при аммиачных компрессорах и трехкратное при фреоновых. При проектировании естественной вентиляции машинного отделения холодильной камеры необходимо предусмотреть возможность осуществления «залповых» проветриваний при возникновении аварийной ситуации.
В средних и крупных холодильных камерах применяют систему механической общеобменной вентиляции.
Для больших холодильных камер применяется механическая активная вентиляция, которая обеспечивает подачу воздуха непосредственно в штабель с продуктами в количествах, необходимых для отвода заданного количества теплоты.
Механическая общеобменная вентиляция в зависимости от устройств для распределения воздуха имеет следующие разновидности: бесканальная, одноканальная, двухканальная, эжектирующее.
Под бесканальной системой понимают неорганизованное воздухораспределение, которое создается в помещении только за счет работы вентиляторов; в ней воздушный поток, выходя из вентилятора, быстро затормаживается, в связи с чем в помещениях и камерах наблюдается неравномерное поле скоростей по ее объему.
Одноканальная система создает условия направленного распределения нагнетаемого и охлажденного либо свежего воздуха в камерах или аппаратах. С ее помощью можно создать требуемую скорость потока воздуха, необходимую для осуществления технологии обработки пищевых продуктов. Такая система представляет собой воздуховод, в котором для отбора воздуха по его длине устанавливают различные насадки. Такие системы в камерах холодильников имеют два контура циркуляции: в первом циркулирует основной поток воздуха, который поступает после воздухоохладителя в свободное пространство камеры с температурой, более низкой, чем температура воздуха в загруженном объеме, второй контур циркуляции формируется за счет разности плотностей воздуха возле и внутри штабеля, количество воздуха, циркулирующее во втором контуре, за висит от плотности укладки продуктов в штабеле, количества теплоты, выделяемой в нем, и высоты штабеля. Наличие двух контуров циркуляции характерно для всех систем механической общеобменной вентиляции.
Двухканальная система в отличие от одноканальной создает условия для направленного и равномерного забора отработавшего воздуха, чем создается более равномерная скорость потока воздуха. Двухканальная система по конструкции такая же, как и одноканальная, но состоит из двух воздуховодов: нагнетательного раздаточного и всасывающего отбирающего из камеры отепленный воздух.
Рис.5. Воздуховод постоянного статического давления с плоскими соплами в виде щели, расположенной между подвесными путями охлаждения мясных туш.
В тех случаях, когда требуется интенсивное смешение воздушных потоков и создание значительных скоростей на достаточном удалении от нагнетателя (вентилятора), применяют эжектор, который монтируется на выходном патрубке нагнетательного воздуховода воздухоохладителя. Такая система называется эжектирующей и представляет собой сужающееся сопло. На выходе из сопла скорость движения воздуха составляет 20-25 м/с. В результате образуется затопленная струя, которая благодаря эжектирующей способности потока все время расширяется за счет подсасываемого воздуха и создает повышенную скорость движения воздуха. Чаще всего такую систему применяют для интенсификации процессов теплообмена при холодильной обработке пищевых продуктов, для минимизации расхода электроэнергии и потерь продукта.
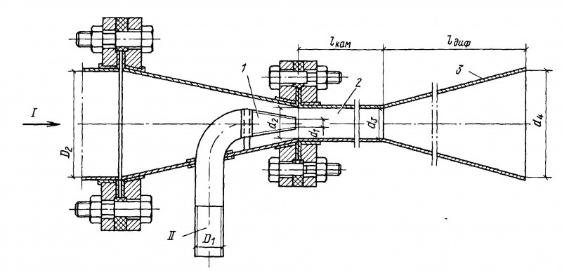
Рис.6. Эжектор высокого давления: 1 - насадка (сопло), 2 - камера смешения,
3 - диффузор, I - эжектируемый поток, II - эжектирующий поток.
Воздухораспределители в зависимости от конструкции воздуховода делают в двух исполнениях: переменного и равного статического давления.
Воздухораспределители с воздуховодами переменного статического давления имеют постоянную площадь сечения по длине, но для равномерной раздачи воздуха требуют переменной и увеличивающейся площади сечения распределительных насадок по длине воздуховода.
Воздухораспределители с воздуховодами равного статического давления выполняют с переменной по длине площадью сечения и постоянной площадью насадок по длине воздуховода. Под насадкой понимают направляющий элемент, который крепится на выходном отверстии воздуховода, для создания нужного направления и скорости движения воздуха, а также для уменьшения сопротивления истечению воздуха из отверстия. Насадки бывают различной формы: круглые в виде сопел, щелевые плоские, щелевые радиальные.
В холодильных камерах систему механической общеобменной вентиляции осуществляют через перфорированные подвесные потолки. При этом охлажденный воздух, который подается в подвесные потолки не должен контактировать с теплыми наружными ограждениями и нагревается.
Каналы для системы механической активной вентиляции выполняются в полу или напольного исполнения из разборных воздуховодов.
Увлажнение воздуха направлено на увеличение eгo относительной влажности и достигается искусственным добавлением водяных паров в воздушную среду, чаще вceгo в поток воздуха после воздухоохладителя.
Для увлажнения воздуха применяются следующие способы: подача в камеру тонкораспыленной воды, подача в камеру перегретого водяного пара, сублимация инея с поверхности испарителя, использование влаги из водных растворов солей либо гидрофильных жидкостей, испарение влаги с поверхности насадок, орошаемых водными растворами солей либо гидрофильных жидкостей, использование влаги наружного воздуха.
Подача в камеру распыленной воды специальными форсунками позволяет увлажнять воздух, поскольку часть воды испаряется благодаря разности парциальных давлений пара на поверхности мелкодисперсных капель воды и водяного пара в увлажняемом воздухе.
Эффективность увлажнения воздуха в холодильных камерах у всех способов разная и зависит от технологических требований и характеристик охлаждаемого продукта. Применение увлажнения воздуха в холодильной камере уменьшает усушку продукта на 20-30 %.
При проектировании вентиляции холодильных камер предусматривается проектирование и монтаж следующих противопожарных мероприятий:
1. Система дымоудаления из машинного помещений.
2. Система подпора воздуха на путях эвакуации людей.
Система дымоудаления и подпора воздуха состоит из светоаэрационных фонарей, клапанов дымоудаления, плотных стальных воздуховодов, покрытых огнезадерживающим составом; бетонных или кирпичных вертикальных шахт, огнезадерживающих клапанов, вентиляторов дымоудаления (радиальные, осевые или крышные радиальные).

Рис. 7. Схема системы дымоудаления из помещений здания и система
подпора воздуха на путях эвакуации из горящего здания.
При проектировании вертикальные коллекторы или шахты систем дымоудаления из помещений надземной части здания должны иметь предел огнестойкости 0,75 ч (EI 45). Все остальные воздуховоды систем противодымной защиты должны иметь предел огнестойкости не менее 0,5 ч (EI 30).
Воздуховоды систем подпора воздуха при пожаре должны иметь предел огнестойкости не менее 0,5 ч (EI 30). Воздуховоды систем подпора воздуха на путях эвакуации людей и лестничных клетках должны иметь предел огнестойкости 2,5 часа (EI 150).
Именно такие временные ограничители, которые проверены почти столетним опытом человечества в современном строительстве, позволяют минимизировать первоначальные затраты на проектирование и монтаж системы дымоудаления. А при возникновении пожара в машинном отделении, позволяют его быстро потушить и минимизировать его вредные последствия для человека и окружающей среды.
Наша компания предлагает Вам высококачественное сертифицированное оборудование от ведущих производителей вентиляционного оборудования. Кроме того, у нас работают специалисты с высокой квалификацией по проектированию, монтажу, пуско-наладке и сервисному обслуживанию всего вентиляционного оборудования, которое необходимо Вам для высокоэффективной и надежной работы Вашей вентиляционной системы.
Наши приоритеты — это надежность, качество и эффективность, поэтому сотрудничая с нами, Вы имеете возможность по достоинству оценить все преимущества работы с профессионалами!
Новости, обзоры и акции